咨询热线:18980573521
新闻详情

快马仓配新版发布:装车更快,数据流转更高效

发表时间:2026-01-21 14:13

1、优化必须扫码拣货判断场景

当开启必须扫商品码拣货时,仅对有条码的商品有效;支持单独配置无条码的商品必须扫货位码拣货

2、整散分拣场景下,支持散拣区库存不够时自动向整拣区发起补货

①.当系统启用整散件分拣时,散拣或整拣不够只分配到对应货位,避免散拣分配到整拣库区拆零拣货

②.整散拣货位库存不足时,自动发起补货,实现边补边拣;APP端拣货页面,拣货员可实时查看当前任务中缺货商品的补货状态,避免拣货跑空

图片
图片

补货状态及补货明细局部截图

3、计划盘点,增加按货位计划盘点

此前,计划盘仅支持按商品盘点,本次增加按指定货位盘点,当选择计划盘点的货位后,系统自动指引盘点

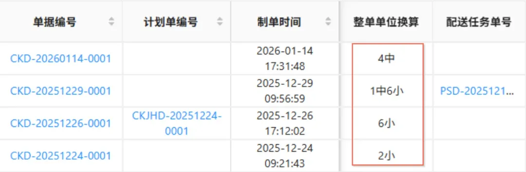
4、出库类单据商品总数量支持换算显示几大几中几小

拣货单、出库单、配送运单等单据总数量支持换算三个单位的总数量,以几大几中几小的方式显示,便于各环节货物交接时按大中小核对数量

图片

单位显示效果局部截图

5、仓配系统可向对接商城账套推送库存

适用于仓配直连对接商城的场景,可直接将仓库库存初始推送给商城,后续仓库库存变动时,会实时自动推送变动商品的库存

图片

库存推送操作局部截图

6、优化货位预警设置方式

在需要频繁更换商品货位的仓库中,新的货位预警方式支持设置货位类型,商品更换货位时,只需要放到对应类型货位上即可触发预警规则,无需再清空数据重新设置

图片

货位类型预警设置局部截图

7、出入库单据支持将批次商品合并数量回写ERP

在仓配管理商品批次,ERP不管理商品批次场景中,可选择仓配出入库数据传输到ERP时,将批次商品合并数量回传为一行,便于ERP人员对账

8、增加单据状态回传记录

在仓配系统中增加可查询出库类单据在仓配系统的各种状态推送至第三方系统的情况,如推送时刻、推送内容、推送状态、失败原因等;并提供手工推送(同步)操作,支持将状态再次推送告知第三方系统

图片

单据状态同步记录局部截图

9、单据自动打印优化

全新的自动打印方式,不用再进行繁琐安装配置,设置好以后,打印更稳定,也可更好排查问题

10、新增支持司机扫包码装车

拣货、复核、发货环节,打包好后都可打印包码粘贴;配送装车时,支持司机扫包码,系统会解析告知对应单据客户、应装包件数、已扫包件数,方便司机快速知晓是否那对、装齐

图片
图片




图片

条码展示效果及司机扫码信息局部截图

11、按行数拆分拣货单,支持按单配置

新增支持手工分配拣货单(按单拣货和汇总拣货)时,可调整本次拆分行数;适用于有专人分配拣货的企业,根据单据和人员情况,更灵活去安排任务

12、APP端新增支持对汇总拣货单明细行操作补拣/回拣

APP端-拣货历史页面,之前只能对按单拣货类型的拣货单,操作补拣/回拣;本次增加对汇总拣货类型的拣货单提供明细行补拣、回拣操作,方便拣货员在作业端快速修正拣货数据

图片
图片

分拣补单操作部分界面截图

13、装箱标签打印,包件数打印可区分整散件包数

图片

打印设置局部截图

14、其他更多优化

①、ERP商品基础资料未开启批次管理,但有保质期天数的商品,可同步到仓配自动开启批次管理

②、往来单位资料增加操作日志,记录资料修改、停用操作

③、货位库存页面-批次调整,增加货位查询条件,且默认带入操作行货位作为默认条件进行查询

④、PC端商品库存状况和货位库存页面,数据导出,支持只导出选中项数据和所有数据

⑤、【批次商品入库效期校验】控制的入库类型的单据中,剔除掉销售退货类型

⑥、拣货/复核装箱,换箱时支持增加新箱号

⑦、APP配送装车页面,运单详情页按拣货顺序展示商品

⑧、app拣货作业语音播报内容设置,增加商品行备注

⑨、APP打印时,判断到未连接打印机,可直接在当前页面连接打印机

⑩、导入优化:1)往来单位导入,支持导入经度、纬度;2)商品资料导入,拆分新增导入和修改导入两种场景

分享到:
售前热线:18980573521    售后热线:18080032191
关注快马数字
关注云流水
加入转型交流群